MATSUSAKI KNIVES


1万円で出来るサンドブラスターボックスの作り方


 サンドブラスターボックスの価格は、
  安くても三万円、普通でも七万円以上
  
しますので、手作りすると一万円で
  作製できます












★ハンドル材の接着剤として、2液式エポキシ接着剤、2液式準構造用
  接着剤、1液式準構造用接着剤、瞬間接着剤各種などが有りますが、
  これらの性能を最大限引き出す為、シースナイフならタング部、
  フォールディングナイフならライナー材へ、サンドブラスト処理を施し、
  その後接着すると良いでしょう。
  エアコンプレッサーは1MPa(10kg/cu)以上圧力のでる物を用意して
  下さい。
  ホームセンターで¥15,000.−位であると思います


★材料表
     以下の材料は、殆どホームセンターで手に入ると思いますが、
   
  価格はおおよそのものです。
  

    各種材料名


 ボックス(衣装ケース)
 3ミリ厚透明アクリル板
 エア用ジョイント雄 
 エア用ジョイント雌
 エア用ホース 1m
 4mmパイプ 70mm(ひも穴パイプを流用)
 ゴム手袋
 サンド用ホース 内径4mmX1m
 サンドブラスター用の砂 #250x2kg
        (歯科技巧の材料屋さんで)
 ボルト、ナット 3mmX12mm 30組
 スズキの軽自動車用エアクリーナー
 シリコンシーラント
 シリコンシーラントガン
 7mmのブラスの丸棒 10mm
 500mlビールの空き缶 
  


  
  価格
  ¥1,000.−
  ¥1,100.−
  ¥1,000.−
  ¥1,000.−
   ¥300.−

   ¥400.−
    ¥40.−

  ¥2,000.−
   ¥400.−
  ¥1,200.−
   ¥500.−
   ¥300.−



合計
  ¥9,140.−

     後必要なものは、やる気と根気と重箱の隅を突付く様な性格と
     ドリルとナイフ。


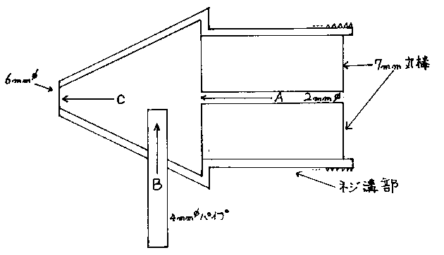
1.エアブラスターガンノズルの改造




























  エアブラスターがんのノズルを図のように改造します。
  7mmの丸棒に2mm径の穴を開け、ノズルにいれ瞬間接着剤で
  止める。
  ノズルの先の穴を5mm径に広げ、ノズルの横に4mm径の穴を
  開ける、その時7mm
のブラスの丸棒になるだけ近かずける、
  
4mmパイプを入れ7mm丸棒の2mm径の穴の外周に4mm
  パイプの切断面を合わせる。
  そうする事によってAからエアーが出た時、4mmパイプ付近が
  真空になり、Bより砂を吸い上げてCより、エアーと砂が吹き出し

  ます。
  仮組みをしてエアーを出し4mmパイプからエアーが確実に吸い
  込む様に調整して下さい



 仮組み終了後瞬間接着剤で止めて
 エアー用ホースに雌のジョイントを

 取り付けて、エアーガンに組み込み
 ます、サンド用ホースを4mmパイプ
 に入れ込みます。












2.蓋の加工

 中が見え易い様に蓋を切り抜いて、
 透明のアクリル板をシリコンシーラント
 で隙間を埋めボルト止めします














3.エアークリーナーの取り付け

 後部側面にエアークリーナーが入る位の
 穴を開けエアークリーナーを取り付けます。
 ここにもシリコンシーラントで隙間を埋め、
 ボルト止めします。エアークリーナーは
 ボックス内にエア ーを吹き込んだ際、砂を
 外に出さずにエアーだけ逃がす為ですが、
 蓋に気密性が無いためそこからエアーが
 逃げるようです。エアークリーナーは
 不要
かも知れません







4.左側部手袋の取り付け


 手袋を取り付ける穴を開けます。手袋の径
 に合わせて幅10mmのドーナツ状の板を、
 アクリル板で左右2枚作ります。
 手袋の口元をアクリル板に被せてボルト
 止めします











5.右側部手袋の取り付けとエアーホース用の穴あけ


 左側部と同じ様に手袋を取り付けます。
 その時左右の手袋の傾きを作業しやすい
 様に調整します。エアーホース用の穴を
 あけホースを通して雄ジョイントを
 ホースに取り付けます。











6.砂用タンクの作成



 ビール缶の蓋の部分を缶きりで開けて4mmの
 穴を開け4mmパイプを図のように加工して
 瞬間接着剤で止め、内径4mmのホースを
 取り付けその端をエアーガンの4mmパイプに
 取り付けます。











7.セット
 ビール缶に砂を入れ余った砂はボックス
 内に入れます。
 使っていくとビール缶内の砂は減ります
 のでボックス内の砂を移しながら使います。














8.サンドブラスト処理


 サンドブラスト処理したタングです。
 エアー圧は1MPa(10kg/cu)以上で使用
 されると効率が良い様です。
 ガラスのエッチングなど他にも使い方が
 有ると思いますので、工夫して使ってみて
 下さい。












ナイフメーキングツールへ戻る